技术支持

为您提供7*24小时在线技术支持、安全技术专家、行业资深安全顾问服务。400-888-1688

经验分享

您当前位置首页 > 技术支持 > 经验分享

传奇专用高防挂站

每个机器默认开通10个IP加端口和10个域名网站
例:110.42.114.2:10000    www.jiefeiyun.com 这两种方式各10个
机器开通后点击管理
image.png
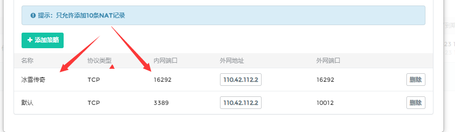
image.png点击端口转发添加策略,

image.png随机分配,名称输入自己的站点名称(只是方便记忆)

image.png例如分配端口16292

进入服务器搭建网站
其他都正常输入,只是内网端口要和IIS的对应
image.png
到此就可以访问了 域名转发全部用80端口

这条帮助是否解决了您的问题? 已解决 未解决

安全合格的云服务,让您的业务轻松上云!

立即选购